2019-06-06
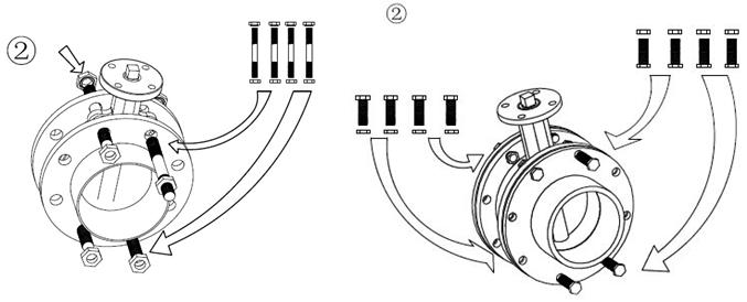
1、將閥門放置于預安裝的兩片法蘭之間(法蘭蝶閥需預兩端墊片位置);
2、按圖示將兩端螺栓螺母分別輕輕插入兩端對應的法蘭孔(法蘭式蝶閥需調整墊片位置),將螺母稍加擰緊以校正法蘭面的平面度;
7、交叉均衡將所有螺母擰緊;

8、再次確認閥門能自由開閉,注意:確認閥板沒有碰到管道。
注:電動蝶閥出廠時已將控制機構的啟閉行程調好,為防止電源接通時方向搞錯,用戶在第一次接通電源前,要先手動啟開到一半(50%)位置,再按電動開關,檢查開關,檢查指示盤方向閥門開啟方向即可。